Ferrari veut révolutionner le V12 avec une idée venue d’ailleurs—Personne ne l’avait vu venir…
Les moteurs thermiques sont-ils condamnés face à l’électrification ? Chez Ferrari, la réponse est clairement non. La marque travaille sur un projet aussi inattendu qu’audacieux : des pistons ovales. Cette innovation pourrait rendre ses futurs moteurs plus compacts, facilitant ainsi l’intégration des systèmes hybrides sans exploser la taille du bloc. Mais ce n’est pas la seule surprise cachée dans ce brevet récemment déposé par le Cheval Cabré.
Sur le même thème :
- Le vrai problème des voitures électriques : cette pièce cruciale qui cause les pannes les plus graves
- La Chine menace le réseau de bornes de recharges mondial en annonçant une technologie révolutionnaire qui va faire très mal à la concurrence
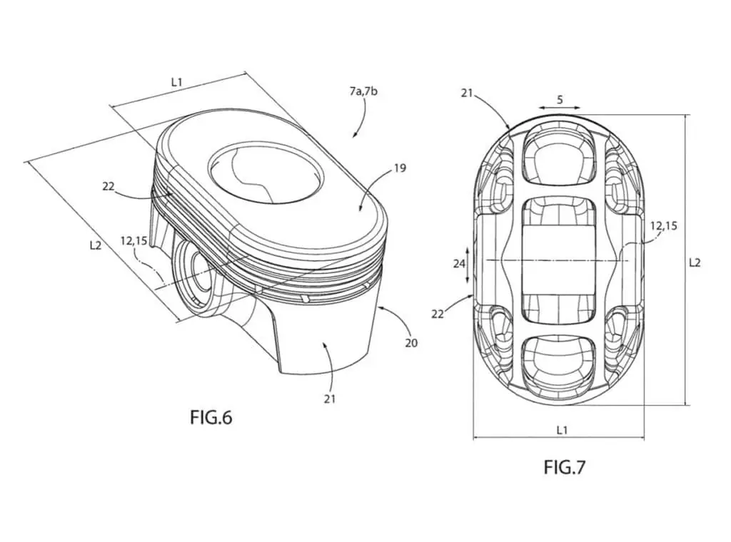
Ferrari dépose un brevet pour des pistons ovales
Jusqu’ici, les pistons ont toujours été ronds, une forme idéale pour assurer une bonne étanchéité et un mouvement fluide dans le cylindre. Mais Ferrari imagine une approche totalement différente : des pistons en forme de stade, plus longs que larges, avec des extrémités arrondies. L’objectif ? Optimiser l’espace sous le capot. En orientant ces pistons perpendiculairement au vilebrequin, Ferrari pourrait raccourcir la longueur totale du moteur sans sacrifier la cylindrée. Une solution qui a du sens, surtout quand on sait à quel point la marque tient à son emblématique V12, tout en intégrant des systèmes hybrides de plus en plus complexes.

Des bielles totalement repensées
Autre élément surprenant dans ce brevet : les bielles, qui relient les pistons au vilebrequin. Plutôt que d’avoir une bielle indépendante par piston, Ferrari imagine un système où les bielles seraient liées entre elles. Concrètement, le chapeau de palier d’une bielle serait formé par la base de la bielle opposée, avec une articulation souple pour permettre le mouvement. Résultat ? Un moteur plus compact, mais aussi potentiellement plus efficace en réduisant le poids des pièces mobiles et donc les pertes mécaniques.

Une première… qui n’en est pas vraiment une
Ferrari n’est pas le premier constructeur à vouloir révolutionner le design des pistons. Dans les années 70, Honda a testé un concept similaire en MotoGP avec la NR500, un V4 équipé de pistons ovales. L’objectif était de loger huit soupapes par cylindre pour améliorer les flux d’air et maximiser la puissance. Mais le projet a été abandonné en compétition à cause de problèmes d’étanchéité. Honda a tout de même commercialisé une moto de route équipée de cette technologie : la NR750, sortie dans les années 90.
Un futur hybride pour le V12 Ferrari ?
Pourquoi Ferrari tente ce pari maintenant ? La réponse se trouve sûrement dans la prochaine génération d’hypercars. La LaFerrari a déjà introduit l’hybridation chez Ferrari, mais son V12 n’avait pas été conçu à la base pour ça. Avec cette nouvelle technologie, Ferrari pourrait concevoir un moteur plus compact, mieux adapté aux architectures hybrides, sans renier la noblesse mécanique du 12-cylindres. Avec l’arrivée de la 12Cilindri et l’évolution du Purosangue, cette innovation pourrait bien jouer un rôle clé. Si la dernière hypercar Ferrari la F80 est motorisée par le V6 biturbo hybride, la marque tient toujours à préserver le V12, un élément central de son ADN depuis ses débuts. Ce n’est d’ailleurs pas le seul constructeur de luxe à souhaiter sauvegarder son moteur le plus noble, Aston Martin a récement annoncé vouloir produire son V12 le plus longtemps possible !

Cet article explore la stratégie innovante de Ferrari avec son brevet sur les pistons ovales et les bielles reliées. En réduisant la taille du moteur sans compromettre les performances, la marque prépare ses futurs modèles à l’hybridation tout en restant fidèle à son héritage. Reste à voir si cette idée radicale verra le jour sur les Ferrari de demain…



